E4321 je kapilární teploměr s uchycením zadním třmenem, určený k měření teploty v soustavách, kde místo snímání teploty není totožné s místem odečtu.
Teploměr je tvořen trubicí ve tvaru Archimedovy spirály, která se působením vnitřního přetlaku rozmotává a tím koná rotační pohyb.
Rotační pohyb přímo úměrný vnitřnímu přetlaku je přenesen na ručičku, která ukazuje na stupnici naměřenou hodnotu. Vnitřní přetlak úměrný teplotě se vyvozuje teplotní roztažností kapaliny v čidle, které je se spirálou spojeno kapilárou.
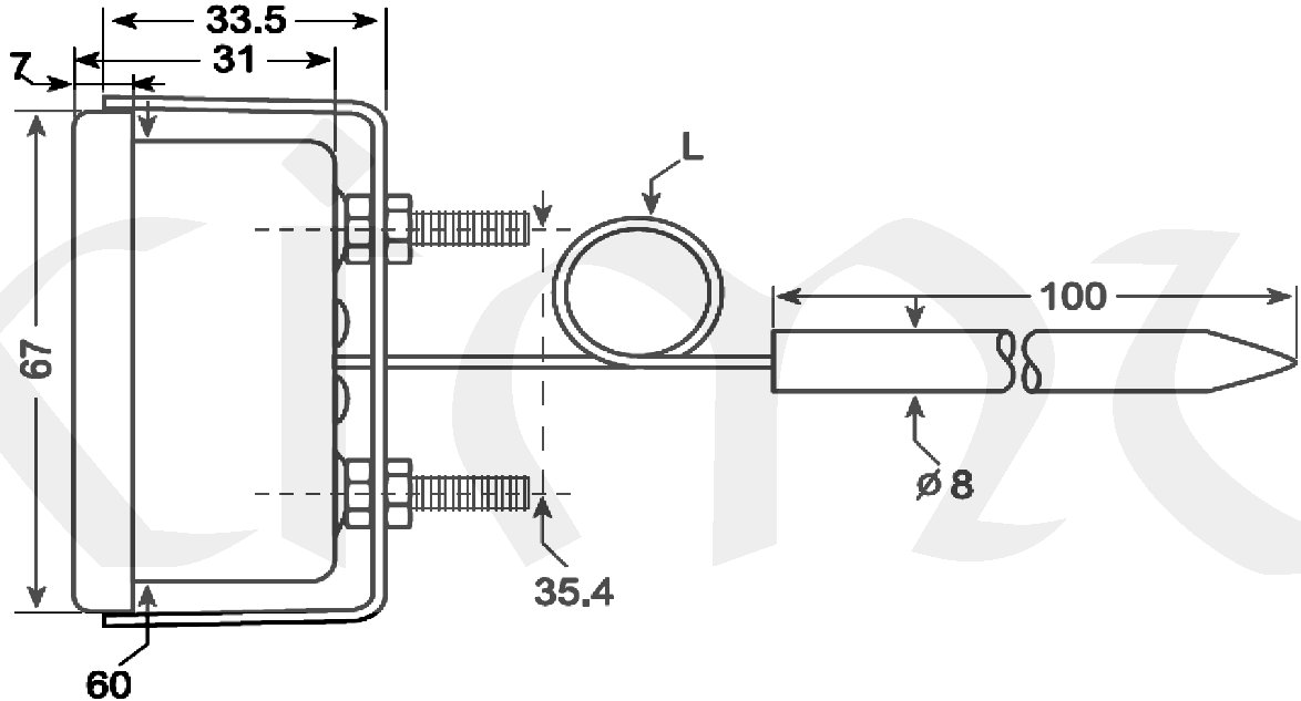
Montáž teploměru se provádí nasunutím hlavice teploměru do otvoru po přední přírubu dle příslušného rozměrového náčrtu a umístěním teploměrového čidla do jímky. Těleso teploměru je možno umístit v libovolné poloze. Těleso teploměru i uchycovací třmen jsou kovové, nerez ocel plech. Třída přesnosti 2.5%. K zamezení rozkmitání kapiláry během provozu je nutné upevnění minimálně v dalších dvou bodech přibližně rovnoměrně rozložených v délce kapiláry. Nejmenší povolený poloměr ohybu spojovací kapiláry je 5 mm. Zapouzdřená nerezová hlavice teploměru může být umístěna do prostředí jednoduchého podle ČSN 33 0300 v rozmezí -30+110 °C. V provozu nevyžaduje žádnou údržbu.
Rozsah stupnice: -40..+40°C
Dělení stupnice: 2 K
Délka kapiláry 1.5m
Min. pol. ohybu 5mm
U této položky může být uplatňováno minimální objednací množství nebo výše celé objednávky.
Teploměr se dodává na zakázku, dodací termín cca měsíc od závazné objednávky, nebo podle aktuálního stavu skladu.
Volitelné příslušenství, Teploměrové jímky dle požadované délky, materiálu a závitu.
